首页信息 | 图片 | 求职 | 招聘 | 搜索 | 论坛 | 会员 | 博客 | 电影 | 专题
男护人才 | 检索 | 医院 | 考试 | 下载 | 邮箱 | 视频 | 商城 | 许愿 | 导航

返回首页 | 关注男护 | 就业频道 | 护理频道 | 医学频道 | 健康频道 | 考试频道 | 文学频道
您现在的位置: 中国男护士网 >> 医学频道 >> 手术图解 >> 麻醉学 >> 正文    
  全身麻醉 【注册男护士专用博客】          

全身麻醉

www.nanhushi.com     佚名   不详 

( 关键词:全身麻醉 )

全身麻醉

麻醉药经吸入、静脉、肌肉或直肠灌注等途径进入体内,使病人意识消失,周身不感到疼痛,神经反射及肌肉活动都有不同程度的抑制,这种麻醉方法称为全身麻醉(或称全麻)。

图1 麻醉机主要结构 图2 mapleson回路 图3 ayre t回路 图4 bain 回路 图5 来回式回路 图6 循环式回路

一、全身麻醉诱导

病人接受全麻药后,意识自清醒进入全麻状态直至手术开始,这一阶段称为麻醉诱导期。

(一)诱导方法

1、吸入诱导:

(1)开放点滴法:以金属丝网面罩绷以纱布扣于病人口鼻上,将挥发性麻醉药滴于纱布上,病人吸入麻醉药的蒸汽逐渐进入麻醉状态。以往主要用于乙醚麻醉,现今有时也用于小儿麻醉。

(2)麻醉机面罩吸入诱导法;将面罩扣于病人口鼻部,开启麻醉药挥发器,逐渐增加吸入浓度,待病人意识消失并进入麻醉第三期,即可静注肌松药行气管内插管。如同时吸入60%n2o,诱导可加速。

2、静脉诱导:与开放点滴法相比病人舒适,不污染环境,比面罩吸入法迅速,但麻醉分期不明显,深度亦难以判断,对循环的干扰较大,同时需要先开放静脉,对于小儿及不合作的病人有一定的困难,实行时:

(1)预先氧合(preoxygenation):以面罩吸氧3分钟或深呼吸4次,增加摒饱和度和摒储备。

(2)去氮(denitrogenation):排出体内的n2,使肺泡吸入麻醉气体浓度迅速升高。如吸入高流量氧时(成人约6l),2.5min后呼出气体中n2浓度可接近零。

(3)静注静脉麻醉药,如硫喷妥钠或异丙酚等,待病人神志消失后胸注肌松药,俟病人下颌松弛,胸肺顺应怀增加,即可进行气管内插管。

(4)为减轻气管内插管反应,可静注芬太尼2~5μg/kg。

(5)年老、体弱者可用咪唑安定或依托咪酯诱导。以氯胺酮诱导时需注意其对循环的抑制作用。

(6)如以琥珀胆碱行气管内插管时,为减轻其肌颤现象可先静注小剂量非去极化肌松药。

3、静吸复合诱导:于静注肌松药后,可同时吸入安氟醚或异氟醚1~2vol%,约2~3min后即可行气管内插管。

(二)注意事项

1、诱导前应准备好麻醉机、气管插管用具及吸引器等。

2、核对手术病人及术前准备情况,如空腹、清洁洗肠、麻醉前用药等。

3、病人仰卧、开放静脉、开放胃肠减压管。

4、监测ekg、spo2、血压、心率、呼吸等麻醉前基础值。

5、避免诱导期的过度兴奋或发生呕吐。

6、当瓋人意识消失后,应托起下颌(或头后仰)以保持呼吸道通畅及行人工呼吸。

7、多数静脉麻醉药对循环的抑制作用与用量及注射速度有关,以2~3ml/10~20s为宜,必要时可分次注入。

8、合并呼吸道不完全梗阻、饱胃或张口困难者可行清醒气管内插管。

二、全身麻醉的维持

(一)维持期的主要任务

1、维持适当深度麻醉和循环、呼吸功能的稳定。

2、满足不同时期手术的要求:如切皮时麻醉需加深;开、关腹膜及腹腔探查时需肌松良好;预防因探查所致的迷走神经反射。

(二)全麻维持方法

机械通气在近代麻醉中的广泛应用,因此肌松药已成为常规用药。

1、吸入麻醉维持:吸入麻醉药+n2o:o2(60%:40%)+肌松药维持。

2、静脉麻醉维持:1%普鲁卡因1mg/kg.min+肌松药+麻醉性镇痛药;芬太尼3~5μg/kg+异丙酚4~8mg/kg.h+肌松药维持。大剂量芬太尼50~100μg/kg+安定+肌松药维持。

3、静吸复合麻醉:上述静脉麻醉药复合60%n2o或挥发性麻醉药。

(三)全麻深浅的判断

1、乙醚麻醉深浅及分期标准系以意识、痛觉消失,反射活动、肌肉松弛、呼吸及血压抑制的程度为标准。由于肌松药的应用,肌松及呼吸抑制的程度已不再是判断深浅的指标,大剂量肌松药的应用,有可能出现病人虽不能动,而痛觉仍存在及术中知晓之弊。

2、有自主呼吸者,手术刺激时呼吸增速加深、心率增快、血压各蒿多为浅麻醉的表现。而眼球固定,眼泪“汪汪”虽为浅麻醉的表现,一旦眼泪干燥则为“过深”的表现。因此循环的稳定仍为一重要指标。

3、挥发性吸入麻醉药麻醉性能强,大量吸入虽可使病人意识、痛觉消失,但肌松作用并不满意,如盲目追求肌松势必付出深麻醉的代价,故复合麻醉仍在于合理配伍,避免深麻醉。

4、吸入麻醉药呼气末浓度达1.3mac以上时痛觉方可消失,0.3mac时病人即可清醒。

5、维持适当的麻醉深度是重要而复杂的,应密切观察病人,综合各方面的判断方为合适。根据手术刺激的强弱及时调节麻醉深度更为重要。

三、麻醉机的结构原理和临床应用

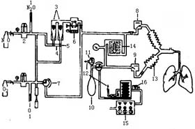
麻醉机可供给病人氧气、麻醉气体及进行人工呼吸,是进行麻醉及急救时不可缺少的设备。其主要结构包括气源、呼吸回路及呼吸器三部分(图1)

(一)气源

1、供气源:

(1)主要为氧及n2o,可来自钢瓶装气体及中心供气站。

(2)钢瓶装压缩氧气的压力为130~150kg/cm2(2000psi;1kg/cm2=14.22psi),经减压阀可将输出的工作压调至3~4kg/cm2(或50psi)。

(3)钢瓶装n2o呈液化气状态,筒内压力为40~60kg/cm2(750psi)。n2o可不断再汽化,始终保持饱和气体的容积,直至液化n2o用尽时压力才下降,故筒内压力不能代表气体的真实容量。

(4)中心供氧:氧自中心站输送至手术室及各用氧单位,氧的输出压力为3.5~4kg/cm2(50~55psi)。

2、压力调节器:将进入麻醉机的压力减压至45psi。

3、气体流量计(flow meter,l/min):调节供给新鲜气流的流量。现多采取双流量管,分别显示高、低流量。气体流量与显示值之间的误差为10%。新型麻醉机设有防缺氧装置(hypoxic protection system),即n2o闭锁装置。

4、氧气快速充气阀:按压此阀氧气可以40~60l/min的速度进入回路。

(二)挥发器

1、挥发器的刻度以vol%表示,指挥发器出口处麻醉气体的浓度。

2、位置:

(1)呼吸回路之内:安装在回路的吸气(呼气)侧,吸入之新鲜气体先经过挥发器再进入麻醉机。挥发器外有控制气体流量的开关。自主呼吸时的流量较小,而机械通气时新鲜气流可达2~3l/min,因而麻醉容易加深。

(2)呼吸回路之外:挥发器有独立的旁路供气系统,当开启挥发器时,旁路气流即经挥发室,并携带麻醉蒸气与主气流混合进入回路,使吸入浓度更稳定。

3、麻醉药的挥发浓度受新鲜气流量和周围温度的影响,并与麻醉药的蒸气压力有关。为稳定输出浓度,挥发器应具有流量、温度及压力补偿功能。

4、各种挥发性麻醉药都有其固定的挥发器,不可互换使用。当气流量>250ml/min时,刻度的精度较好。如吸入n2o,因其不经过挥发室,故麻醉药的浓度略低于刻度。

5、快速充气时,因其不经过挥发器,可将回路中麻醉药稀释而浓度降低。

(三)呼吸回路系统

将新鲜气体(包括麻醉药)输送至病人,并将病人呼出气体输出。根据呼出气体是否有复吸入而健为无复吸入和复吸入系统。

1、无复吸入系统:

(1)通过单向活瓣或高流量新鲜气流来实现。常用的有mapleson回路,ayre t型管回路及bain回路(图4、5、6)(图中f为新鲜气流)。

(2)具有呼气阻力小的优点,主要用于小儿。

2、复吸入系统:

(1)呼出气体通过co2吸收器后,部分或全部被病人再重复吸入。可分为来回式及循环式两种(图7、8,图中f为新鲜气流,ab为co2吸收器,a为呼气活瓣)。

(2)循环式呼吸回路根据新鲜气流量的大小,可分为:

①循环紧闭式:每分钟输入新鲜气体流量等于同时间内病人吸收的气体容量。

②半紧闭式:每分钟输入新鲜气体流量大于病人吸收的量,而小于分钟通气量。

③半开放式:气体流量等于或几倍地大于分钟通气量。

3、循环式呼吸回路中主要包括:

(1)单向呼吸活瓣。

(2)呼吸囊:用于储气,手法人工呼吸。成人用者容量为3l,小儿则依体重选用1~3l。

(3)溢气活瓣 (adjustable-pressure-limiting,apl或popoff):为安全装置,其压力限度可以调节。当活瓣完全开启时,回路内的压力峰值为(1~3cmh2o),适用于自主呼吸;而关闭时压力可达(75cmh2o)。当回路内压力超过所调置压力限度时,则自动排气。

(4)y形接头及螺纹管:连接呼、吸活瓣至病人的通道。

(5)废气排出系统 (scavenging system):可将废气排至手术室外。如堵塞可因排气障碍导致回路压力增高,应绝对避免。

(6)co2吸收器:

①多为两个容量为1l的吸收器串联在一起,或为一个大容量(约2l)的吸收器。

②常用的co2吸收剂为钠石灰(或钡石灰),即含有5%naoh与90%ca(oh)2加硅酸盐粘合而成的颗粒,其作用为:

co2(呼出)+h2o→h2co3

h2co3+2naoh→na2co3+2h2o+热

以上反应迅速产生,而约0.5~1小时后再还原为:

na2co3+ca(oh)2→2naoh+caco3+热。

③钡石灰则为20%ba(oh)2 ·8h2o与80%ca(oh)2的混合。价格较贵,吸收co2的性能仅为钠石灰的50%。

④理论上每升钠石灰可吸收co2120l。以通气量为10l/min、呼出co2浓度为4vol%计算,1l钠石灰可使用小时。而实际应用时间较此长得多。新鲜气流量为4.4l/min时,有效时间为40~60小时;流量为0.5l/min时,有效时间为10~15小时。

⑤钠石灰失灵时可发生co2蓄积。表现为自主呼吸深而快,面色潮红,心率加快,血压升高。

(7)呼吸终末正压(peep)旋钮:麻醉期间peep的作用主要在于使肺泡膨胀,预防肺泡塌陷和低氧血症的发生。

(四)麻醉呼吸器

1、分为定容型和定压型两种,麻醉期间用于控制呼吸。为电动或气体驱动。

2、呼吸器可调参数一般包括:潮气量(vt)或分钟通气量(mv)、呼吸频率(f)、吸:呼比(i:e),有的还可设置peep、压力报警及减压阀。

3、当驱动气压缩气囊时形成病人的吸气相;而驱动气停止时,肺内气体被动排出与新鲜气体混合而使气囊复张,即呼气相。

4、气囊密闭性差时,驱动气可进入囊内,因此应以纯氧或压缩空气为驱动气。

5、呼吸囊的设置以呼气时向上方驱动者为佳,回路脱离时易于察觉。

(五)临床应用麻醉机时应注意的事项

1、麻醉医师应熟悉所用机器的性能。

2、应用前应常规检查:

(1)启开气源,连接无误,气体压力合适,apl活瓣灵活。

(2)堵住y形管的开口,启开氧气快速充气开关,呼吸囊可迅速充满男;挤压呼吸囊时,无氧气外漏;呼、吸活瓣功能良好。

(3)打开呼吸器开关,即将“手控”转为机械通气,并将y形管与模拟肺相连,检查呼吸器是否正常工作。

(4)核对挥发器后装入吸入麻醉药物。

(5)检查钠石灰的颜色,核对更换日期,确认其性能良好重新更换。

3、调置麻醉机的安全报警系统,包括气道压、f1o2、每分通气量及脱机等。

4、加强麻醉机部件的消毒,减少交叉感染。呼吸回路用后应进行消毒或使用一次性产品,包括面罩、螺纹管、y形管及呼吸囊等,如遇患传染病者,使用后应对整机进行消毒处理。

四、全麻期间的呼吸管理

(一)保持呼吸道通畅

1、病人意识消失后呼吸道可因舌后坠而堵塞,防止舌后坠的方法:

(1)托起下颌:以双手置于病人的下颌角,将下颌向上方托起,使下齿置于上齿之外,舌根即可脱离上腭。麻醉诱导时麻醉者以左手4、5指置于左下颌角之后托起下颌,其余三指扣住口罩,右手挤压呼吸囊行人工呼吸。

(2)头后仰法:病人仰卧,右手置于病人之前额及枕部使头部向后仰,颈部向前牵伸。

(3)放入口咽通气道或鼻咽通气道。

(4)行气管内插管。

2、防止气管内导管发生扭折,必要时采用细钢丝加固导管。

3、及时清除呼吸道内的分泌物。

4、严防导管脱出总气管,导管固定要可靠,变动本位后应再次检查导管位置。

(二)维持有效的通气量

1、辅助呼吸:病人自主呼吸但交换量不足时可行辅助呼吸。操作方法:

(1)于病人吸气开始时挤压呼吸囊使病人的潮气量增加,而呼气时则放松呼吸囊,呼出气体可排至囊内。

(2)挤压频率可每间隔一次正常呼吸后挤压一次,压力一般为0.98~1.47kpa(10~15cmh2o),但与病人的胸肺顺应性有关,以胸廓中度吹张为宜。

(3)辅助呼吸时必须与病人的自主呼吸同步;维持跔呼气时间,吸:呼比以1:2为宜。

2、控制呼吸:当自主呼吸完全消失,可采用手挤压呼吸囊或开启呼吸器进行控制呼吸。主要用于全麻诱导时及维持期采用肌松药者。

(三)呼吸功能监测

1、通气功能:应监测vt、f和mv;paco2和etco2是判断通气功能最为可靠的指标,麻醉期间应尽可能采纳。

2、spo2:是监测氧合的重要指标,可以连续监测,但术中影响的因素较多,必要时查pao2。

3、f1o2:应用n2o时应监测,避免发生低氧血症。

4、气道压的峰值(peak airway pressure):一般应低于1.96kpa(20cmh2o),若3.92kpa(40cmh2o)有发生呼吸道梗阻的可能,应查明原因。

5、胸肺顺应性:是肺通气功能的效率指标,正常时为100ml/cmh2o(△v/△p)(1cmh2o=0.98kpa)。

五、全麻并发症及其处理

(一)呼吸系统

1、呼吸道梗阻:

(1)上呼吸道梗阻:梗阻部位在喉头以上,可分为机械性及机能性。

原因:机械性梗阻的原因有舌后坠、口腔内分泌物及异物阻塞、喉头水肿等。机能性原因有喉痉挛。

预防及处理:

①全身麻醉下发生的呼吸道梗阻,其“梗阻”症状可不明显,因此应密切观察,麻醉恢复期的护理更为重要。

②舌后坠时可将头后仰、托起下颌或置入口咽通气道。

③吸除口咽部分泌物,将病人头转向一侧,有利于分泌物的流出。

④喉头水肿多发生于婴幼儿及气管导管插入困难者,遇此情况,可预防性静注氢化可的松0.5-1.0mg/kg;术后发生喉头水肿者除吸氧、激素治疗外,严重者尚需行气管切开。

⑤轻度喉痉挛者可加压给氧,严重者可经环甲膜穿刺置入粗针头行加压给氧,多数均可缓解。对上述处理无效或严重喉痉挛下刺激喉头;采用硫喷妥钠麻醉或行尿道、宫颈扩张等手术时,应给予阿托品0.3-0.5mg,预防喉头副交感神经张力增高。

(2)下呼吸道梗阻:梗阻部位在喉头以下者。

原因:机械性梗阻最常见原因是气管导管扭折、导管斜面过长而紧贴在气管壁上、粘痰或呕吐物误吸堵塞气管及支气管。机能性原因为支气管痉挛,多见于浅麻醉时、支气管内异物、炎症刺激、肌松药的组胺释放作用以及支气管哮喘者。

预防及处理:

①仔细挑选气管导管,过软或不合格者应丢弃。

②经常听诊肺部,及时清除呼吸道内的分泌物。

③维持适当麻醉深度,预防及解除支气管痉挛的诱因。保持麻醉深度及氧合(通气)适当是缓解支气管痉挛的重要措施,必要时可静注氨茶碱0.25mg或氢化可的松100mg。

2、通气量不足:

(1)原因:

①麻醉药对呼吸中枢的抑制;肌松药对呼吸肌的麻痹而辅助呼吸及控制呼吸又不充分者。

②吸入麻醉药残存0.1mac时仍可抑制缺氧-通气反应,致麻醉恢复期通气不足。

③麻醉恢复期肌松药的残存作用。

④术中过度通气2小时可消耗近3l的co2储备,术后机体则需降低通气量以补充所消耗的co2,故有通气量不足,且可导致低氧血症。

⑤术中所用麻醉性镇痛药常为术后呼吸抑制的重要原因,尤以高龄、肥胖者为然。

⑥麻醉期间发生通气不足时,主要表现为o2潴留;而恢复期发生通气不足,除o2潴留外,还可发生低氧血症,而后者的威胁尤甚。

(2)预防及处理:

①辅助呼吸或控制呼吸应适当,避免通气不足或长时间过度通气。

②加强围术期病人的呼吸功能监测,尤其对高龄、肥胖等“高危”病人。

③严格掌握拔除气管导管的指征,即呼叫病人可睁眼、抬头、握拳、用力吸气压力可达2.94kpa(-30cmh2o)、tof中t4/和t1>70%,可避免或减少麻醉恢复期的通气不足。

3、低氧血症:吸空气时pao2<8kpa(60mmhg)或吸纯氧时pao2<12kpa(90mmhg)。

(1)原因:

①麻醉机故障、氧气供应不足等致吸入氧浓度过低。

②气管内导管可随头部的活动而移位:头向前屈曲可使导管内移1.9cm,可能使导管进入一侧支气管;头向后仰伸可使导管向外移动1.9cm而滑出气管外。

③全麻下可发生微型肺不张,且可持续到术后。肺不张时肺内分流增加,可导致低氧血症。

④全麻下frc可降低15%-20%,使呼吸肌张力增加,结果使肺容量更加降低。

⑤呼吸道梗阻或通气不足时,可同时发生低氧血症与高碳酸血症。

⑥上腹部手术较其它部位手术更易出现手术后低氧血症。

⑦高龄、肥胖及吸烟者,因闭合气量增加,术中、术后均易发生低氧血症。

(2)预防及处理

①解除原因,如呼吸道梗阻等。

②术中监测血气及spo2,早期发现和处理低氧血症。

③因肺不张、肺容量减少所致的低氧血症,可采用peep(5-10cmh2o)治疗。

④全麻恢复期病人应监测spo2,并面罩吸氧,维持spo2≥94%。

⑤高危病人术后应行预防性机械通气。

(二)循环系统

1、低血压:

(1)收缩压下降超过基础值的30%或绝对值低于10.6kpa(80mmhg)者称为低血压。

(2)原因:

①术前禁食、清洁洗肠或术中失血引起血容量不足。

②麻醉药对循环的抑制(负性肌力或外周血管扩张作用)。

③手术操作压迫上、下腔静脉使回心血量减少。

④正压通气引起胸内压增高,静脉回心血量减少。

⑤并存疾病,如肾上腺皮质功能不全、心功能不全、休克等。

⑥继发于其它严重心肺并发症,如心肌缺血、心包填塞、气胸、肺梗塞等。

(3)处理:

①解除病因:尽量解除导致低血压的原因;麻醉药的应用方法应合理,药量适当。

②适当补充容量,可行液体负荷试验。

③静注麻黄素10-15mg,因具α、β效应,可于血压升高的同时心率也增速;新福林50-100μg,仅具α效应,还可使心律反应性减慢,于心律增速者可使用。

④经处理血压仍难以恢复者,应进一步检查,如血气、电解质、ekg及肺片等,以明确诊断。

2、高血压:

(1)舒张压高于13.3kpa(100mmhg)或收缩压高于基础值的30%称为高血压。

(2)原因:

①与并存疾病有关:如原发性高血压、甲亢、嗜铬细胞瘤、颅内压增高者等。

②与手术、麻醉操作有关:如探查、压迫腹主动脉、气管插管等。

③通气不足,有co2蓄积。

④全麻恢复期高血压:多见于原有高血压病者,伴有躁动或尿潴留。

⑤药物所致高血压:如潘库溴胺、氯胺酮常呈一过性高血压;单胺氧化酶抑制剂与度冷丁合用时亦可致血压升高。

(3)处理:

①解除诱因:有高血压病史者诱导前可静注压宁定25-50mg;芬太尼3-5μg/kg或吸入与静脉诱导药同时应用,可减轻气管插管时的心血管反应。

②根据手术刺激的程度调节麻醉深度。吸入麻醉药对减弱交感神经反射优于鸦片类药物。

③对于顽固性高血压者,可行控制性降压以维持循环稳定。

3、心律失常:

(1)窦性心动过速或过缓:

①心动过速与高血压同时出现常为浅麻醉的表现,应适当加深麻醉。

②低血容量、贫血、缺氧以及代谢率增高(如甲亢、恶性高热)时,心率增可增快,当针对病因进行治疗。

③手术牵拉内脏(胃、食道、胆囊等)或心眼反射时,可因迷走神经反射致心动过缓,严重者可致心跳骤停,静注阿托品0.25-0.3mg可有一定的预防作用。

(2)期前收缩:

①首先应明确其性质,并观察其对血流动力学的影响。

②麻醉下发生的室性早搏多属良性,如非频发无需特殊治疗。

③如因浅麻醉或co2蓄积所致的室性早搏,于加深麻醉或排出co2后多可缓解,必要时可静注利多卡因1-1.5mg/kg。

④应避免过度通气,因碱中毒时,钾及镁离子进入细胞内,使心室肌的应激性增加。

⑤房性早搏多发生在原有心肺疾病的病人;偶发房性早搏对血流动力学的影响不明显,因此无需特殊处理。

4、心肌缺血:

(1)围术期心肌梗塞的发生率及死亡率均高,麻醉处理的重点是维持心肌氧供一氧耗的平衡。

(2)加强对ecg及血流动力的监测。

(3)有心肌缺血表现者,除吸氧外,还应静滴硝酸甘油0.5-2μg/kg·min;esmolol0.5-1mg/kg可有效控制心动过速和高血压,必要时可以应用;适当血液稀释可增加氧供,维持hct在30%左右为宜。

(三)消化系统

1、术后恶心呕吐:需治疗者约占3.5%,发生率与病人体质及术中用药有关,应用氟哌啶可使之缓解。

2、误吸:

(1)肠梗阻及饱胃者宜采取清醒气管内插管。采用快速诱导插管时,可压迫甲状软骨使食管闭合,防止胃内容反流,并避免将气体吹入胃内。

(3)静注h2受体阻滞剂雷尼替丁50mg,甲氰脒胍100mg可使胃液容量减少到25ml以下,ph>2.5,万一发生误吸则肺损害可相应减轻。

(四)其它并发症

1、恶性高热:

(1)为一隐匿性药物引起的肌肉代谢异常病变,当易感者接受琥珀胆碱或氟烷等吸入麻醉药后易诱发此病。西方国家发病率达1/5000-1/150000不等,我国迄今仅有个案报道。

(2)易感人群多有先天性肌肉收缩、代谢率增快(hr、bp、乳酸均升高)、体温急剧升高(1℃/5min)伴有混合性酸中毒及血清钾、钠、钙、肌球蛋白及肌酸磷酸激酶(cpk)升高。

(4)诊断:取骨骼肌活体组织,放入咖啡因及氟烷溶液中可呈现强直性收缩。

(5)特异治疗:静注硝苯芙海因(dentrolene),初始剂量2-3mg/kg,20分钟后可达10mg/kg。

2、全麻后谵妄:

(1)发生率为8%~70%,与手术类别、年龄等因素有关,老年人发病率更高。

(2)发生原因与代谢紊乱、围术期所用药物以及低氧血症有关。

(3)术后应监测spo2并保持其正常,可减少或避免谵妄的发生。

 

文章录入:杜斌    责任编辑:杜斌 
  • 上一篇文章:

  • 下一篇文章:
  • 【字体: 】【发表评论】【加入收藏】【告诉好友】【打印此文】【关闭窗口
     

    热 门 信 息
    最 新 热 门
    最 新 推 荐
    相 关 文 章
    并指(趾)分开术
    多指(趾)切除术
    屈曲指畸形矫正术
    歪斜指(趾)畸形矫正术
    切开复位术
    髋臼加盖术
    股骨转子下旋转切骨术
    髋骨旋转切骨术
    髂臼成形术
    骨盆内移切骨术
    专 题 栏 目

    Copyright©2006-2017 中国男护士网  地址:山东省济宁市任城区古槐路89号
    QQ留言 QQ群 电话:15069789263 邮箱:malenurse@163.com
    鲁ICP备17052714号-1   鲁公网安备 37089902000011号